1984 ZN1300 Voyager not starting
- Tuomas
-
Topic Author
- Offline
- Senior Member
-
- Posts: 44
- Thanks: 1
Please Log in or Create an account to join the conversation.
- Bucko
-
- Offline
- Platinum Member
-
- Posts: 660
- Thanks: 165
Re: 1984 ZN1300 Voyager not starting
7 years 5 months ago - 7 years 5 months ago
That's Funny. I've never noticed the plugs on the wiring diagram are not numbered. A bit of an oversight I'd say. I've revised the ZN1300 wiring diagram and attached to show the plug numbers if anyone is interested (.pdf).
PS: not sure which model year(s) the wiring diagram covers but I believe it's pre - Cruise Control which would be 86 and under.
Edit: The File attachment feature doesn't appear to be working. If anyone wants a copy of the wiring diagram, please PM me.
PS: not sure which model year(s) the wiring diagram covers but I believe it's pre - Cruise Control which would be 86 and under.
Edit: The File attachment feature doesn't appear to be working. If anyone wants a copy of the wiring diagram, please PM me.
Hello from Canada's We(s)t coast.
Last edit: 7 years 5 months ago by Bucko.
Please Log in or Create an account to join the conversation.
- Kawboy
-
- Offline
- Sustaining Member
-
- Posts: 3219
- Thanks: 1183
Re: 1984 ZN1300 Voyager not starting
7 years 5 months ago
Tuomas,
I sent you on a bit of a goose chase this morning. You're working on a ZN1300 not a kz1300.
so, regarding the wiring-
pickup coil wiring as per the ZN Voyager manual-
Ignition coil primary wiring as per the wiring diagram from the ZN Voyoager manual
I sent you on a bit of a goose chase this morning. You're working on a ZN1300 not a kz1300.
so, regarding the wiring-
pickup coil wiring as per the ZN Voyager manual-
Ignition coil primary wiring as per the wiring diagram from the ZN Voyoager manual
Please Log in or Create an account to join the conversation.
- stocktoy
-
- Offline
- Sustaining Member
-
- Posts: 375
- Thanks: 88
Re: 1984 ZN1300 Voyager not starting
7 years 5 months ago - 7 years 5 months ago
Bucko I tried to look at the pdf file and when I clicked on it this is what I got.
404 - Category not found
You may not be able to visit this page because of:
1.an out-of-date bookmark/favourite
2.a search engine that has an out-of-date listing for this site
3.a mistyped address
4.you have no access to this page
5.The requested resource was not found.
6.An error has occurred while processing your request.
Please try one of the following pages:
•Home Page
If difficulties persist, please contact the System Administrator of this site and report the error below.
Category not found
404 - Category not found
You may not be able to visit this page because of:
1.an out-of-date bookmark/favourite
2.a search engine that has an out-of-date listing for this site
3.a mistyped address
4.you have no access to this page
5.The requested resource was not found.
6.An error has occurred while processing your request.
Please try one of the following pages:
•Home Page
If difficulties persist, please contact the System Administrator of this site and report the error below.
Category not found
Last edit: 7 years 5 months ago by stocktoy. Reason: spelling and added info
Please Log in or Create an account to join the conversation.
- Bucko
-
- Offline
- Platinum Member
-
- Posts: 660
- Thanks: 165
Re: 1984 ZN1300 Voyager not starting
7 years 5 months agostocktoy wrote: Bucko I tried to look at the pdf file and when I clicked on it this is what I got.
404 - Category not found
You may not be able to visit this page because of:
1.an out-of-date bookmark/favourite
2.a search engine that has an out-of-date listing for this site
3.a mistyped address
4.you have no access to this page
5.The requested resource was not found.
6.An error has occurred while processing your request.
Please try one of the following pages:
•Home Page
If difficulties persist, please contact the System Administrator of this site and report the error below.
Category not found
Ya, I get that too. Tired to add the attachment several times but nothing worked.
Hello from Canada's We(s)t coast.
Please Log in or Create an account to join the conversation.
- Bucko
-
- Offline
- Platinum Member
-
- Posts: 660
- Thanks: 165
Re: 1984 ZN1300 Voyager not starting
7 years 5 months ago - 7 years 5 months agoKawboy wrote: Tuomas,
I sent you on a bit of a goose chase this morning. You're working on a ZN1300 not a kz1300.
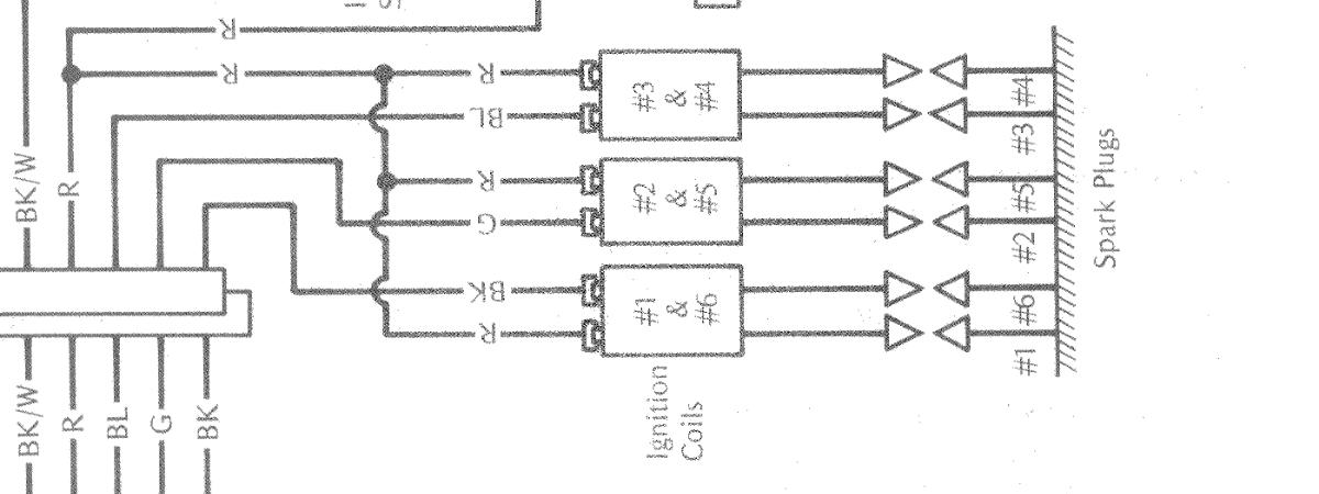
The ZN wiring diagram I have shows Blue/Green/Black as per your earlier comment (I added the plug numbers): ??
Hello from Canada's We(s)t coast.
Last edit: 7 years 5 months ago by Bucko.
Please Log in or Create an account to join the conversation.
Moderators: scotch
Time to create page: 0.172 seconds
